InventionHome® Product Developer Creates Portable Shower System that Helps People Bathe Outdoors
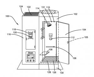
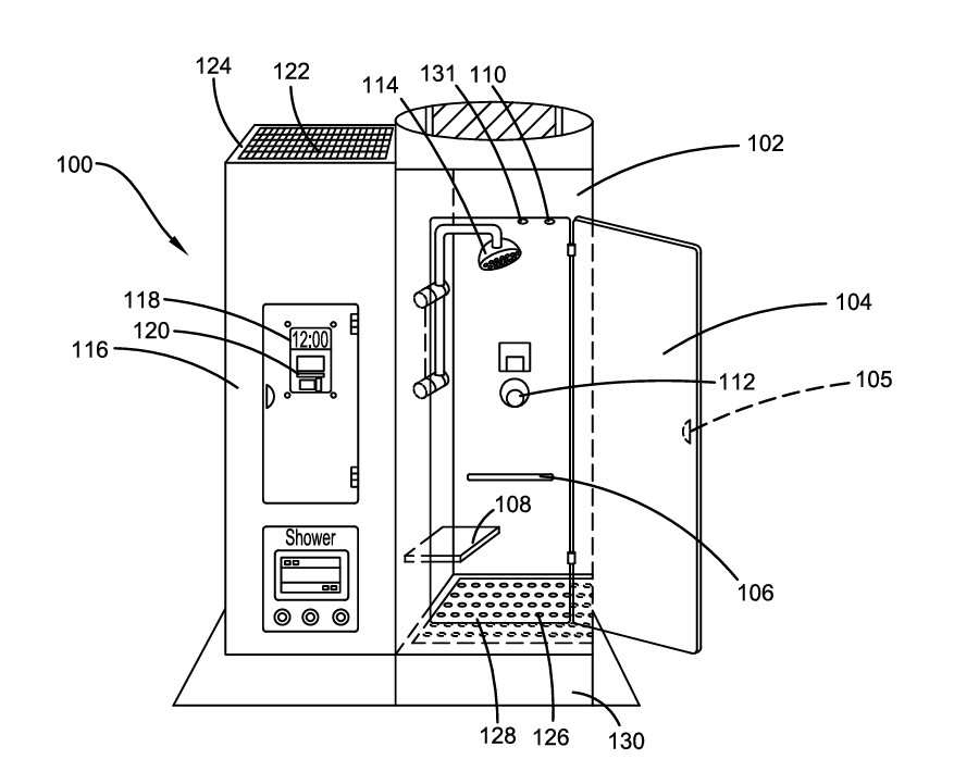
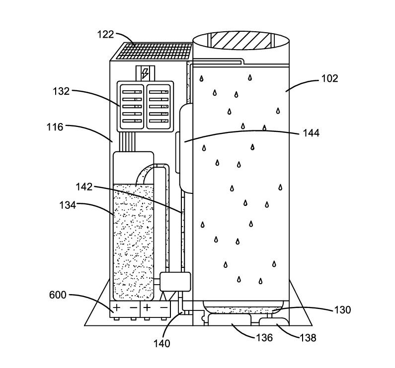
While the user is in the shower unit, a timer will be running and will eventually shut off the unit once time is up. During the shower’s active time, the used water will run through the bottom floor grates before being pumped into a used tank system where it will be filtered through multiple filters, including reverse osmosis. Once the user steps out of the shower unit, the shower unit will re-lock, and a UV light will turn on overhead to sanitize the interior. Ultimately, the system helps people remain clean in outdoor and/or remote areas while reducing the spread of illness due to lack of sanitary water to bathe with.
Markets associated with outdoor shower units are growing due to outdoor enthusiasts, military groups, emergency response teams, and people facing clean water access challenges. These shower units are especially popular among campers and hikers, proving to be vital when spending several days outdoors. People in these remote or desolate areas may have limited access to clean water, develop significant body odor, and spread bacteria.
The surge in companies investing in clean water systems could lead to increased value in portable shower units, especially companies that sell environmentally friendly outdoor bathing systems. The Self-Sustained Portable Coin-Operated Shower Unit is a versatile and innovative system that fits within this niche market and would be a significant enhancement to any manufacturer’s product line.
Adam filed his Utility Patent with the United States Patent and Trademark Office (USPTO) and is working closely with InventionHome, a leading invention licensing firm, to sell or license the patent rights to his Self-Sustained Portable Coin-Operated Shower Unit product. Ideal licensing candidates would be U.S. based product manufacturers or distributors looking to further develop and distribute this product innovation.
Companies interested in the Self-Sustained Portable Coin-Operated Shower Unit can contact InventionHome at member@inventionhome.com. Inventors currently looking for assistance in patenting, marketing, or licensing their invention can request information from InventionHome at info@inventionhome.com or by calling 1-866-844-6512.
About InventionHome®
InventionHome is a leading invention and product licensing firm focused on helping inventors and entrepreneurs through the invention and patent process with the goal of licensing or wholesaling client inventions. For more information, email info@inventionhome.com or visit https://www.inventionhome.com.
InventionHome
InventionHome
+1 866-844-6512
info@inventionhome.com
Legal Disclaimer:
EIN Presswire provides this news content "as is" without warranty of any kind. We do not accept any responsibility or liability for the accuracy, content, images, videos, licenses, completeness, legality, or reliability of the information contained in this article. If you have any complaints or copyright issues related to this article, kindly contact the author above.


