White Hat Dev Co Announces Patent for the Answer to "The Last Mile Problem"
For Delivery personnel, Online Merchants, Retailers, Restaurateurs and anyone that sends or receives a parcel; anytime and anywhere.
In the right hands and platform, this could change everything for everyone for home and office delivery.”
AUSTIN, TEXAS, USA, August 2, 2023/EINPresswire.com/ -- CONTACT: Jerry Anderson: jerrytanderson@gmail.com— -Jerry Anderson
A Great Answer to the “Last Mile Conundrum” for everyone involved.
-An automated delivery & return receptacle for the ages in your own back yard.
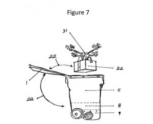
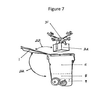
White Hat Development Companies™ announced today that, after nearly 5 years of pre-development, it has received a U.S. Patent Award (Patent # 11,602,236, the Systems and Methods for Secure Package Delivery and Retrieval) and has additional claims Pending under a continuation of the ongoing patent prosecution. White Hat was granted 20 exclusive claims from the USPTO for the new technology. The technology itself, can secure and alarm-protect delivered packages in addition to photographing the parcel while also weighing & reporting that weight, refrigerating and/or warming the contents of the packages until pickup. Among many other features, it can integrate with a variety of manned and unmanned delivery systems and delivery device protocols, software and communication platforms for drone, robotic or human-hand delivery and retrieval at any location. This technology, currently placeholder-named as the “TotalVault™” receptacle & system solves a myriad of Porch-Piracy and general ‘Last Mile Conundrum’ issues faced, by every deliverer of goods and consumers alike, from residential homes to businesses everywhere.
“White Hat is excited to announce the accomplishment of receiving our patent and claims for this technology and we’re looking forward to having constructive discussions with leaders in the last-mile logistics space to license the innovation to them for further development and production. This innovation serves all of the parties interested in the conveyance process and de-risks much of the process for everyone involved in it. We’re seeking groups that need an integrated solution to securely and verifiably complete deliveries anytime & anywhere whether it be by human hands or drone deposit,” said Jerry Anderson, Co-Founder/CVO and CEO of White Hat Development Cos. “We’re seeking partners whom are suffering from the heavy expense of porch & consumer piracy and seasonal inclement weather with its resultant need for maintaining a secured & constant-temperature controlled receptacle for spoilables with this innovation. Our TotalVault™ container has the ability to cost-effectively ‘and’ autonomously and securely store a parcel, reduce delivery losses from theft and decrease spoilage for a variety of the participants of the supply chain in the online goods-delivery space.”
Jay Houser, Co-Founder & President of White Hat, noted that in 2022 when Forbes tallied it, Porch Pirates stole over 260 Million packages, and according to CNBC, “The annual amount lost to package theft is an estimated $19.5 billion”. Today, the online/delivery industry continues its meteoric growth and these numbers will continue to be staggeringly high. We’re out to save the senders, deliverers and consumers, alike, in the supply chain substantial amounts of money and make it easier and safer to securely deliver any package to anyone… anywhere. Our answer to solving just this piracy issue alone is remarkable.” Houser went on to say that, “this release doesn’t even come close to outlining all of the myriad of features that can be built into this device under our patent(s) and our desire is to solve this haunting conundrum that has cost so much and inconvenienced so many since online sales delivery commenced years ago.”
According to CVO/CEO Anderson, “Our goal is to license the technology to manned & unmanned delivery platform operators, retailers, and distributors who desire to manufacture, private-label and/or brand their own form of the product for their own “or shared” use at the receiving-end of the last mile where the consumer takes title to the good. And I believe that our prowess in business over the last 40 years has prepared us to find the right partners to engage in order to bring this to the masses.”
Originally named White Hat’s Development Project #28, the TotalVault™ container-locker system, this technology is a size-scalable, patented (with additional patents pending) method(s) and system owned and controlled solely by White Hat. TotalVault is the world’s first automated drone “and” manned delivery system solution for the masses that not only prevents porch piracy and delivery theft in the “last mile of delivery”, but which also provides an affordable security-alarmed answer to the desperate needs for Grocery, Rx and all Dry Goods parcels to be able to deliver those goods to the most efficient climate-controlled and GPS-defined and alarmed container delivery points at the most cost-effective delivery times for those doing the delivering. The growing trends in how we can (and do) buy nearly everything now online and, resultantly, how we receive our purchases today from a delivery truck or VTOL-type drone, has forever altered customer expectations and the delivering merchant’s requirements to meet those expectations as they build sales and resulting earnings. TotalVault™ answers many of these questions, serves everyone involved in the delivery loop, and has a particularly strong value proposition to the growing bevy of online merchants and their delivery vendor/suppliers that are now beating it out in a war to win customer’s business with delivery speed ‘and’ cost-efficiency; simultaneously.
Guy Chaney, Co-Founder and Executive Vice President of White Hat said, “In residential settings, our patented “Drone-Port™” array of receptacles can provide tremendous last-mile delivery cost-savings and security efficiencies to neighborhood delivery companies like Fed-Ex, UPS, DHL, Amazon and even the USPS by centralizing delivery location, time, energy and effort on the deliverer’s part. Our embedded capabilities for delivery personnel to charge their EV’s while completing this delivery task at one specific location is a boon to efficiency also. Personnel, drone, and robot deliveries alike in both manned and un-manned delivery protocols can be served equally with TotalVault™.
About White Hat Development Cos.
White Hat Development Companies™ is an ideation, innovation, marketing and commercial real estate firm founded in 2011. The firm is a Christian-principled company headquartered in Texas with 3 Texas offices and offices in Georgia and Ohio. For more information, please directly email jerrytanderson@gmail.com to set up a call or meeting. We would be honored to meet you and share.
# # #
Jerry Anderson
White Hat Development Companies
+1 740-751-7155
email us here
Legal Disclaimer:
EIN Presswire provides this news content "as is" without warranty of any kind. We do not accept any responsibility or liability for the accuracy, content, images, videos, licenses, completeness, legality, or reliability of the information contained in this article. If you have any complaints or copyright issues related to this article, kindly contact the author above.

