There were 1,685 press releases posted in the last 24 hours and 355,565 in the last 365 days.

Boulder AI announces patent award for their camera with graphical processing unit

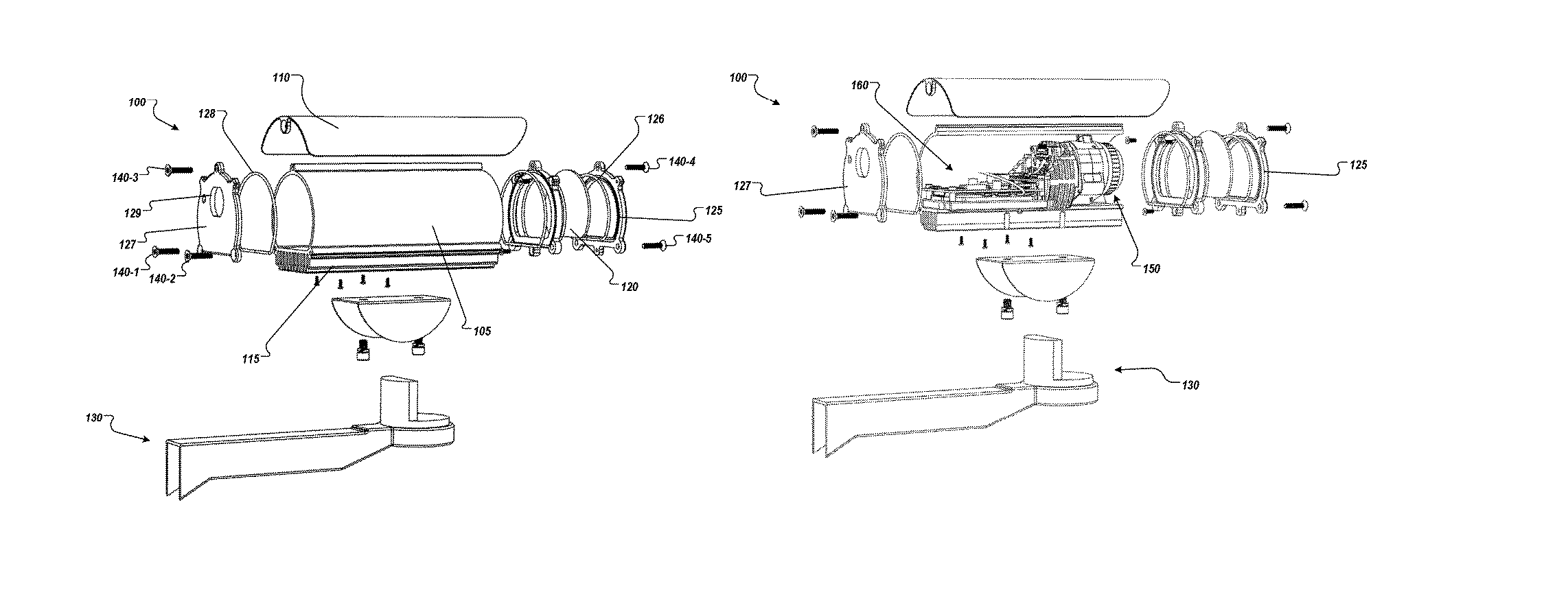
The patent is for a hermetically sealed camera with a graphical processing unit (GPU) that analyzes image information to extract high-level information

Boulder, Colorado, Aug. 18, 2020 (GLOBE NEWSWIRE) -- Boulder AI, a leader in innovative visual intelligence platforms and AI Internet of Things hardware and software, announced that the United States Patent and Trademark Office has issued the company a patent that covers their camera system which includes a graphical processing unit (GPU). The invention (US Patent No. 10652440B2) is a camera system that includes a GPU and is hermetically sealed, meaning it’s air and water tight, and can be used in harsh environments without being negatively affected.

“This patent award is a big deal for our company and all customers who want to use deep neural network camera systems and software to inform their operations, make planning choices, and automate routine actions,” said Bryan Schmode, Chairman and CEO of Boulder AI. “This is a keystone patent for the industry and acknowledges that Boulder AI is providing thought leadership around visual IoT devices that render a new way to collect insights about your environment while ensuring privacy.”

This very general patent allows us to broadly claim a sealed camera, with a motor to drive the lens, and a GPU + accelerators inside with the application of neural networks. This patent allows Boulder AI to establish a strong foothold in the marketplace and lay claim to a multitude of technologies which use edge computing to reduce image data and structure it. The reduction of information is then delivered to Boulder AI's cloud Platform in real time. This information can be used for, but not limited to, classification, monitoring speed, counting, tracking behaviors, identifying anomalies and other overall trends.

“In other words, we have been awarded a patent that gives us a very nice base to build upon. We are very happy with the competitive advantage that this gives us in the marketplace, but this is just a start.”  said Darren Odom, founder and CTO of Boulder AI.

Earlier this year, Boulder AI announced a partnership with the City of Denver that will provide safer traffic crossings for pedestrians. In this partnership, Boulder AI’s platform makes decisions based on traffic flow analytics and pedestrian behavior to inform real-time interventions and public safety enhancements.

For example, traffic signal operations can be modified if someone, such as a young child or a sight-impaired individual, needs a little more time to cross the street. Boulder AI’s system doesn’t capture or transmit any video of people, but only reacts to their motion to assure their safety in and around traffic, allowing for safety and privacy all at the same time.

Attachments

Pat Reilly, Global Sales and Marketing VP
Boulder AI
408-667-8302
pat@boulderai.com

Legal Disclaimer:

EIN Presswire provides this news content "as is" without warranty of any kind. We do not accept any responsibility or liability for the accuracy, content, images, videos, licenses, completeness, legality, or reliability of the information contained in this article. If you have any complaints or copyright issues related to this article, kindly contact the author above.