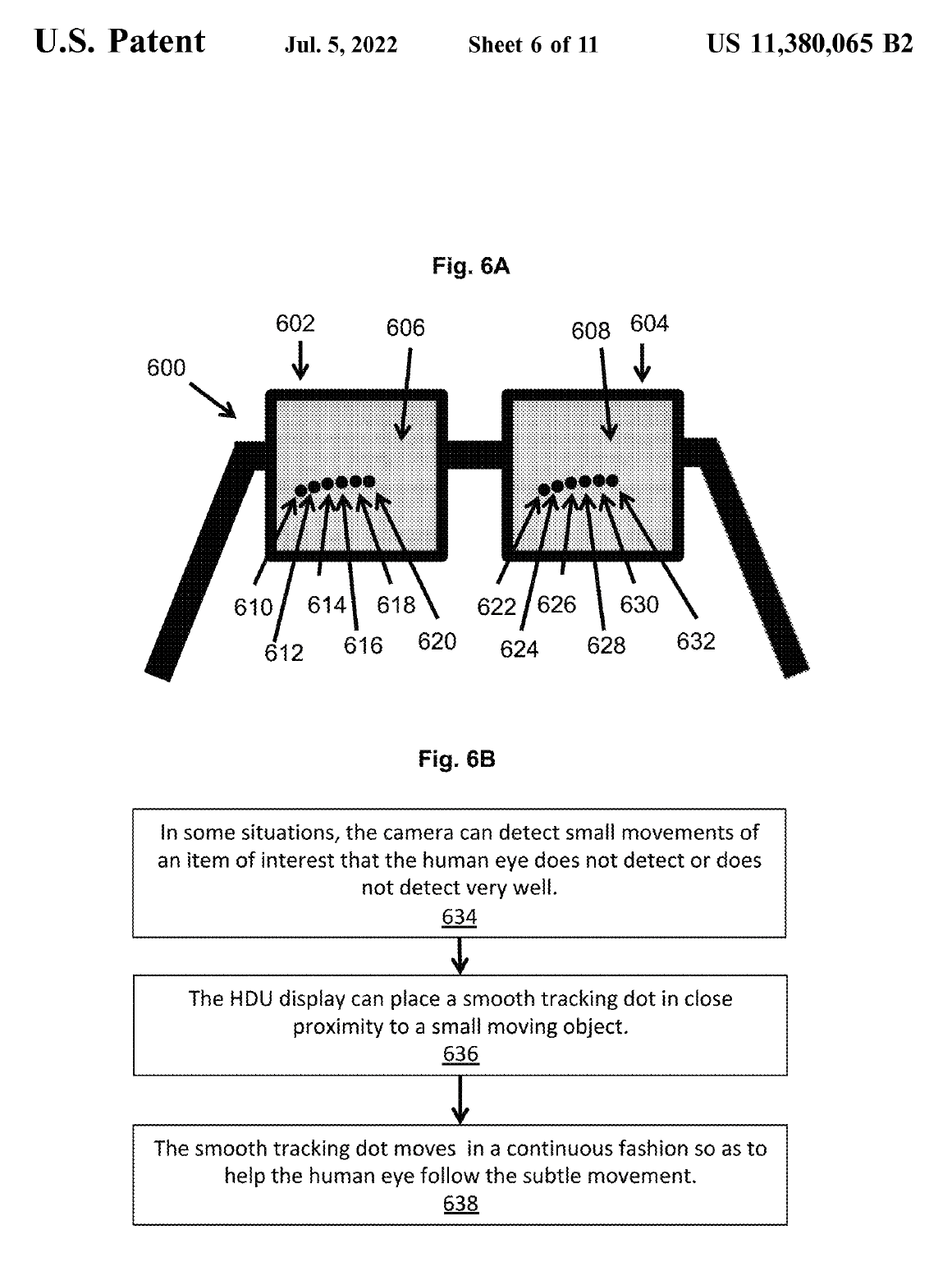
A Second Major Improvement to the Integrated Visual Augmentation System
To improve IVAS to assure a "coordinated strike" for increased lethality
ORLANDO, FL, USA, July 5, 2023/EINPresswire.com/ -- A former Army Ranger once said "In combat, targeting is the difference between killing your enemy and being killed." In war, a Soldier must rapidly engage a target. A technology called Rapid Target Acquisition (RTA) can help a Soldier achieve rapid engagement. RTA provides crosshairs on night vision goggles to indicate where the weapon is pointed, which helps an individual soldier rapidly engage.
In this press release, TPMI releases a second major improvement to the Integrated Visual Augmentation System (IVAS), which is a military version of the HoloLens 2 system. The IVAS is a 3D head display unit worn by the soldier, which provides tactical mixed reality to improve situational awareness for soldiers in combat.
The former Army Ranger also once said "The fog of war is real. Any Soldier who has been in a firefight can attest to that. A Soldier can easily get fixated on a single target especially in a firefight. Target fixation can be a problem even for battle hardened Soldiers. But, what is worse is when multiple Soldiers are all focusing on the same one target and a second target is left completely unattended to. For example, a group of 5 soldiers in a squad could easily all be focusing on the same one target and a second target left completely unattended to. This would yield poor resource management and vulnerability for the squad."
An effective squad in the Army must coordinate efforts to take out targets in a comprehensive, efficient manner to maximize lethality. Coordinated targeting is, however, easier said than done.
A new technology has been developed to significantly improve coordinated targeting. In US 11,380,065, imagery collected from a soldier's headset (e.g., IVAS) is segmented into discrete objects in real time and the headset's eye tracking system determines precisely which discrete object the Soldier is looking at.
With this technology, data from multiple IVAS units can be integrated and a multi-Soldier coordinated strike achieved. Soldier#1 goes for target#1. Soldier#2 for target#2. And, so on. A series of color-coded digital objects to coordinate which target is yours and which targets are being handled by your fellow Soldiers are overlayed on the visual display for coordination. This process will maximize targeting and lethality of the force.
In this press release, TPMI issues an open invitation to work with the US Army's Program Executive Office Soldier to integrate this important technological advance into the IVAS.
About the author: Dr. Robert Douglas is a West Point graduate who: fought as an Infantryman in Vietnam with US units and a Vietnam recon company; worked in a combat development agency; studied nuclear war in the Joint Chiefs of Staff; patrolled in the desert for the UN in the Middle East with Russian war planners; and developed a system to assist Air Force space exercises. After leaving the service he spent over three decades in the defense industry rising from manager to vice president working programs ranging from sensors and missiles for the Air Force aircraft to rubbing shoulders with Army scientists; to Army helicopters and combat vehicles as well as rapid target acquisition (RTA), night vision goggles and helmets sights.
Dr. Robert Douglas
TPMI, LLC
email us here
Legal Disclaimer:
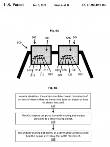
EIN Presswire provides this news content "as is" without warranty of any kind. We do not accept any responsibility or liability for the accuracy, content, images, videos, licenses, completeness, legality, or reliability of the information contained in this article. If you have any complaints or copyright issues related to this article, kindly contact the author above.
